Hilfe
abbrechen
Suchergebnisse werden angezeigt für 
Stattdessen suchen nach 
Meintest du: 

Girocard NFC Schnittstelle

bjoern1984
Autor ★
11 Beiträge

Hallo,

ich habe manchmal das Problem wenn ich in Geschäften mit der Girocard Kontaktlos zahle dass das Bezahlterminal nicht immer sofort reagiert wenn ich meine Karte ran halte.

Kann mir jemand mitteilen wo genau sich die NFC Schnittstelle auf der Girocard/ Visacard befindet?

11 ANTWORTEN

m4nu3l
Experte
96 Beiträge

Schau dir mal die Karte von N26 an:

https://images.ctfassets.net/q33z48p65a6w/153Pt9HtmCcwcwuUqUUYi2/6bd41f441abac1e2f1b193dc99f1149d/n2...

Da bekommst du einen guten Eindruck, wo die NFC-Antenne verläuft. Ich geh mal stark davon aus, dass alle Karten ähnlich aufgebaut sind.

ehemaliger Nutzer
ohne Rang
0 Beiträge

Die Kassiererin muss die Kartenzahlung erstmal aktivieren. Ich schätze, da muss irgendeine Taste gedrückt werden. Ansonsten geht die Kasse von Barzahlung aus. Deshalb dauert es immer ein paar Sekunden, bis man die Karte dran halten kann. Vielleicht liegt es daran, das du die Karte zu früh ans Terminal hälts, bevor die Kartenzahlung aktiviert wurde.

Ich warte immer, bis auf dem Display steht "Karte einschieben oder auflegen".

 

baha
Mentor ★★★
2.834 Beiträge

Die Karten sind im Wesentlichen so aufgebaut wie im Bild von @m4nu3l zu sehen ist. Es gibt Unterschiede, was die Lage der Antenne angeht, vor allem in der Höhe; die Breite der Karte ist meist immer so gut abgedeckt wie auf dem Bild.

 

Interessanter sind Chipkarten, wenn sie mehrere Chips enthalten - kommt aber im Girocard-Umfeld nicht vor 😉

nmh
Legende
9.962 Beiträge

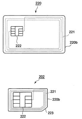
Ich beschäftige mich beruflich auch mit Chipkarten und kann daher auch was Gescheites beitragen. Die folgende Abbildung stammt aus dem US-Patent US 2005/0212690 (dort Fig. 17). Man erkennt die Kreditkarte 220 mit dem Chip 222 und der Antennenspule 221. Wie man sieht, gibt es sogar SIM-Module mit Antenne (untere Abbildung)!

 

Viele Grüsse aus einem eiskalten München

schönen Start in die Woche an alle, die das hier lesen

 

nmh

 

chipcard antenna.png

Disclaimer: Ich habe leider kein scharfes ß auf meiner Schweizer Tastatur.

Elbblick
Experte ★★★
657 Beiträge

Wichtiger als die Frage wo die Antenne in der Karte sitzt, ist vermutlich die Frage wo die Antenne im Kassenterminal sitzt. Je nach Typ kann es sein, dass man die Karte auf das Display, oberhalb des Displays oder rechts an der Terminal halten muss. Ein weiteres Problem kann die generelle Akzeptanz von kontaktlosen GC sein, nicht alle Händler haben ihre Terminals entsprechend aktualisiert. 

Nick_BLN
Autor
2 Beiträge

Da man ja bei comdirect die NFC Funktion nicht abschalten kann, reicht es zur Deaktivierung aus alle 3 Antennenschleifen auf der gegenüberliegenden Seite der Karte mit einer Scheere zu durchtrennen um die Funktion abzuschalten?

nmh
Legende
9.962 Beiträge

@Nick_BLN:

 

Die drei (können auch mehr oder weniger sein) Antennenschleifen sind, wie der Techniker sagt, "in Reihe geschaltet". Das bedeutet, es genügt, wenn Du nur eine davon "triffst", um die Antenne komplett zu deaktivieren. Ein normaler Bürolocher sollte dafür genügen.

 

Achtung: Es ist möglich, dass eine derart manipulierte Karte von Geldautomaten usw. nicht mehr akzeptiert und eventuell sogar eingezogen wird. Wenn Du eine "Scheere" benutzt, besteht die Gefahr, dass die eingeschnittene Karte sich dort verbiegt und dann mechanisch im Geldautomaten verklemmt.

 

Ich habe täglich beruflich mit dieser Technologie zu tun und kann Dir versichern, dass keine Gefahr durch NFC besteht, dass jemand z.B. illegal Deine Daten ausspäht. Die Reichweite beträgt nur sehr wenige Zentimeter, und die Daten sind verschlüsselt.

 

nmh

 

Disclaimer: Ich habe leider kein scharfes ß auf meiner Schweizer Tastatur.

Nick_BLN
Autor
2 Beiträge

Wie nachgewiesen wurde ist die Hürde zur Ausnutzung der Sicherheitslücke nicht sehr groß https://youtu.be/LMjHNbRjLCA . Ich habe alle 3 Antennenschleifen mit einer Schere durchtrennt. Die NFC Funktion ist nach Kontrolle mittels Handy nun dauerhaft ausgeschaltet, aber die normale Bezahlfunktion geht weiterhin. Nun ist die Visa Karte dran...

kammann
Experte ★★
321 Beiträge

@Nick_BLN  schrieb:

Wie nachgewiesen wurde ist die Hürde zur Ausnutzung der Sicherheitslücke nicht sehr groß https://youtu.be/LMjHNbRjLCA . Ich habe alle 3 Antennenschleifen mit einer Schere durchtrennt.

 

Was für ein Aktionismus. Die Haftung für mißbräuchliche Kartennutzung ohne PIN liegt bei der Bank. Im sehr unwahrscheinlichen Fall eine unberechtigten Nutzung genügt ein Anruf bei der Bank und der beanstandete Betrag muss binnen eines Werktags wieder gutgeschrieben werden. Eine mechanisch beschädigte Karte wird über kurz oder lang ausfallen, entweder weil der eingebrachte Riss sich vergrößert oder weil die Karte in einem Geldautomaten hängen bleibt und/oder eingezogen wird. Im Übrigen zeichnet sich bereits jetzt ab, dass das kontaktlose Bezahlen sich soweit durchsetzen wird, dass dem Chip das gleiche Schicksal droht wie dem früheren Magnetstreifen - es gibt heute schon Zahlungsterminals, die ausschließlich kontaktlose Zahlungen verarbeiten (z.B. Automaten).